Can Bluetooth 4.2 turn IoT Dreams into Reality?
資料提供者:DigiKey 歐洲編輯群
2017-04-27
In many wireless Internet of Things devices such as wearable electronics and battery-powered or self-powered sensors, keeping power consumption to a minimum is critical. Some of the most important applications for the IoT include the smart home, remote healthcare, consumer retail, environmental monitoring and commercial asset tracking. To simplify deployment, these devices need to be easy for the intended end user to access and control without special equipment such as dedicated gateways.
Some wireless technologies, such as ZigBee®, meet the requirement for low power consumption, and also offer long range and application oriented profiles like ZigBee PRO or ZigBee Home Automation (HA). On the other hand, connecting with the consumer domain can be somewhat complicated, and may require a special gateway to allow the user to interact via a device such as an ordinary smartphone or tablet.
Bluetooth® has some attractions as an alternative, but historically it has not fit comfortably with some aspects of the IoT. Its power consumption has been relatively high, data rates have been faster than typically necessary, and the first Bluetooth specifications were based on one-to-one rather than one-to-many connectivity.
The emergence of the Bluetooth Low Energy (BLE) standards (version 4.0/4.1/4.2), which complement the Basic Rate (BR) and Enhanced Data Rate (EDR) (version 2.0/2.1) standards, have changed Bluetooth’s relationship with the IoT. BLE is supported on every smartphone, tablet and smart watch shipped since 2012, allowing users to interact easily and directly with IoT applications using their own device without the restrictions imposed by the need for a gateway.
Bluetooth moves to meet IoT demands
The BLE standards are oriented towards exchanging short bursts of data and enabling hardware current consumption in the order of microamps rather than milliamps, while extending communication range. Among these specifications, the later Bluetooth 4.2 has added important new features that are clearly aimed at making Bluetooth as attractive as possible to IoT device designers.
Important features added to Bluetooth 4.2 include the Internet Protocol Support Profile (IPSP) which enables devices to have their own IPv6 address, and thereby connect to the Internet directly via an edge device without the need of a device such as a smartphone acting as a gateway or hub. By enabling Bluetooth devices to send and receive IP packets, IPSP also makes communication possible with other non-Bluetooth devices that support IP such as 6LoWPAN devices, thereby greatly extending interoperability.
In addition, there are important new features that allow devices to interact with internet-based services using standard HTTP. These features include new APIs that enable users to discover and interact with Bluetooth LE devices securely over the Internet. The devices could be smart home sensors or actuators such as window sensors or door locks. A homeowner can discover the devices, check their status, and make adjustments through a device such as a router or smart TV. Likewise, the smart home owner can control all of these devices from inside the building by connecting directly from a smartphone, tablet, or Bluetooth-enabled PC without needing any additional gateway device.
Also new is HTTP Proxy Service (HPS) which allows Bluetooth 4.2 devices to act as HPS clients to interact with Cloud applications. In a smart home application, Bluetooth 4.2 temperature sensors acting as HPS clients can use discoverable HPS services on the home’s router to send data to a Cloud-based application such as an energy efficiency service (Figure 1).

Figure 1: Bluetooth 4.2 devices can use HPS to send data directly to the Cloud.
Bluetooth 4.2 also specifies larger message packet sizes allowing data transfers up to 2.5 times faster than previous versions of BLE.
One of the more controversial aspects of the BLE specifications is support for beacon functionality which takes advantage of automatic interactions between BLE devices. Bluetooth beacons that connect to a mobile as it comes within range can support applications such as micro-location, pushing sales offer information in a store, or tracking customer movement in-store for marketing purposes. A gallery or art museum could publish an app for visitors to download, allowing them to automatically receive information about each exhibit as they move around the exhibition.
In an enterprise scenario beacons can be extremely useful. For example, they could be used to guide visitors to a specific location in a large site, quickly locate assets that may be misplaced, or broadcast an alert if attention such as maintenance is required.
Privacy and security
The ability to track smartphone users by recognizing the Bluetooth device address has raised privacy concerns. To address this, Bluetooth 4.2 has introduced a privacy feature that generates a new device address on a frequent basis using a secure cryptographic key. The key is known to trusted devices, allowing them to resolve the new addresses. Hence the user has power to choose when to allow tracking, and can, for example, balance the value of receiving sales offers or location guidance against perceived intrusion or invasion of privacy.
This new privacy feature is one of a number of security features in Bluetooth 4.2 which are NIST compliant or FIPS approved, and include more secure techniques for key generation, encryption and data signing to cover vulnerabilities in earlier BLE specifications. Pairing is also upgraded from the Secure Simple Pairing model of Bluetooth 4.0 and 4.1 by adding an extra pairing method that uses numeric comparison with elliptic curve cryptography for key exchange, ensuring stronger security.
By combining the advantages of Bluetooth 4.2 with enhanced internet and Cloud connectivity, the sheer ubiquity of Bluetooth in consumer smartphones could make it of the most widely used technologies in the IoT.
New Hardware Needed
Some of the enhancements of Bluetooth 4.2, such as the improved security features, can be added to existing BLE products by updating firmware. Others, however, such as faster data speeds, can only be achieved with the appropriate hardware. A number of Bluetooth 4.2 modules are available to help designers quickly take advantage of the newer standard.
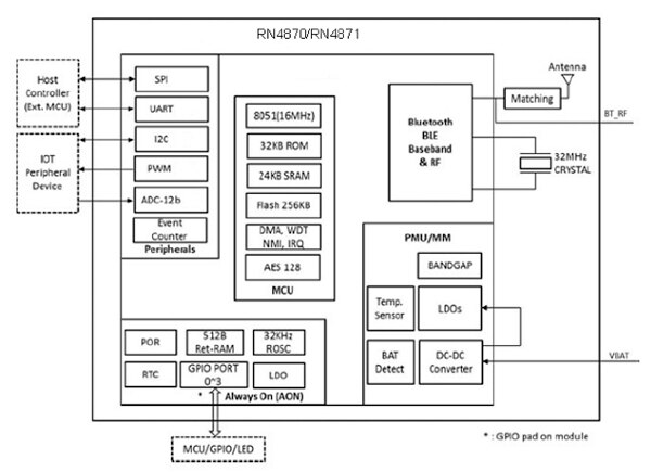
The Microchip RN4870 and RN4871 are complete modules that combine a Microchip IS187x BLE IC with all the necessary peripheral components and an on-board chip antenna to create an easy to use drop-in solution (Figure 2). The IC fully integrates the Bluetooth 4.2 baseband controller, Bluetooth 4.2 stack, digital and analog I/O, and the RF power amplifier. The module is connected to the host system via a simple UART interface, and a convenient ASCII command API is provided. RN4870/71 modules can be ordered with an on-board ceramic chip antenna, or as unshielded versions that have an external antenna connection resulting in more compact dimensions for use in space-constrained applications.

Figure 2: The module provides everything needed for Bluetooth 4.2 connectivity, and interfaces easily to the host controller.
An alternative module, the Silicon Labs BGM113, is based on the EFR32BG SoC which features an ARM® Cortex®-M4 microcontroller that is able to host the end user application without an external MCU in space or cost constrained applications. The module integrates a variety of peripherals such as comparators and ADCs, as well as digital interfaces and GPIOs that facilitate connecting additional peripherals or external sensors.
Conclusion
Wireless standards have taken some time to respond to the rapid expansion of the IoT into everyday life. Many existing standards do not enable the IoT to reach its full potential as a consumer or commercial tool. Enhancements and special profiles such as ZigBee HA illustrate some of the wireless industry’s attempts to catch up with fast-moving IoT opportunities.
Bluetooth Low Energy has a tremendous advantage over other wireless standards by combining low power consumption, low data rate, and adequate range with the sheer ubiquity owing to universal support on today’s popular mobile devices. Adding to the advantages of BLE through sleeker IP connectivity, improved security and privacy, as well as a useful speed increase, Bluetooth 4.2 may present the ideal connectivity technology for the IoT to achieve its lofty targets.
聲明:各作者及/或論壇參與者於本網站所發表之意見、理念和觀點,概不反映 DigiKey 的意見、理念和觀點,亦非 DigiKey 的正式原則。

