Using Redrivers to Extend the Range of High Throughput USB 3.0 Cables
Contributed By DigiKey's North American Editors
2018-10-10
The latest versions of USB offer rates of up to 2.5 Gbytes/s, assuming host and peripheral are in close proximity. In applications where USB is being used over longer distances, designers must find some way to offset signal degradation to maintain USB’s stated data rates.
While it’s possible to employ equalization, emphasis, and DC gain techniques, designers may have greater success and a shorter time to market with USB redrivers. These are integrated devices that include all the electronics required to tackle signal degradation.
This article describes redriver operation before introducing some sample devices and how to apply them.
USB can stretch, but at a cost
When the USB specification was mapped out it was assumed connections would be made only between devices within a few meters, such as between a computer and an external hard drive. The USB 3.0 specification states that cable length should be limited to 3 meters to maintain signal integrity. But such is the success of USB technology that it is now used for applications that for practical reasons must use longer cable lengths. Examples include connecting a server with display panels mounted throughout a large store.
Unfortunately, longer cables combined with the high frequency signals common to high-speed versions of USB introduce signal integrity challenges such as channel insertion loss, crosstalk, intersymbol interference (ISI), and a subsequent lowering of throughput.
The USB system designer can turn to several techniques to overcome signal degradation. For example, equalization and emphasis can be used to limit the effect of channel insertion loss and ISI. And boosting the DC gain helps overcome losses due to crosstalk.
However, designing signal conditioning circuits increases USB system complexity, and the challenge is made harder because USB technology uses separate signal pairs for transmitting and receiving, doubling the circuitry needed. Help for the designer comes in the form of USB redrivers.
Causes of signal degradation
The signal degradation problems that challenge fast USB are not unique to the technology; designers of all products employing high-speed communication links are familiar with them. They are also not unique to long cable USB installations, but because there’s less signal degradation in short cables it is less of a problem.
Signal degradation in high-speed communication systems is primarily due to a combination of insertion loss, crosstalk, and ISI.
Insertion loss is the result of signal power attenuation caused by the cable. The loss is proportional to the cable length. Crosstalk is the capacitive, inductive, or conductive “coupling” of adjacent signal carriers which degrades the integrity of the signal in both. ISI occurs when one symbol (the discrete signal which carries data and repeats according to the carrier frequency) interferes with the previous symbol, causing increased noise and distortion. ISI is proportional to both carrier frequency (because the time gap between signals decreases at higher frequencies) and cable length (because the signal-to-noise ratio (SNR) decreases in longer cables). Noise is the portion of the signal that doesn’t carry useful information.
High-speed USB systems will also include a certain amount of deterministic and random jitter, defined here as small deviation from the signal’s nominal periodicity, which can compromise the signal integrity. The higher the system communication frequency, the greater the impact of jitter.
Overcoming signal degradation
Some signal degradation in high-speed communication system is inevitable, but it only becomes a problem when the SNR becomes so poor that some of the transmitted data can’t be decoded at the receiver. The result is compromised throughput, and in extreme cases communication failure.
Engineers have developed four techniques to boost SNR (or implement “signal conditioning”) to improve throughput in high-speed communication systems:
- Emphasis/de-emphasis comprises amplifying the transmitted frequencies that are most likely to be impacted by noise, and then de-emphasizing them at the receiver to reconstruct the original signal.
- Equalization uses filtering to ensure the received signal matches the frequency characteristics of the transmitted signal, effectively maintaining a flat frequency response along the entire length of the cable.
- DC gain compensates for the linear attenuation for a cable of a given length.
- Output swing control enables configuration of the USB differential voltage to ensure it meets the specification requirement of 0.8 to 1.2 volts.
Optimizing communication for a particular configuration requires extensive testing to determine the amount of equalization, emphasis, DC gain, and output swing control required for a range of operating conditions. This information could then be used to adaptively alter each parameter during operation to maintain the ideal signal. However, adaptive signal conditioning is impractical for all but the most critical communication systems.
Passive signal conditioning, whereby a single set-up satisfies all operating conditions, does achieve reasonable results for a much lower cost. The downside is it doesn’t ensure optimum conditions at all times. Designers can ensure consumer satisfaction by either supplying a cable of a specific length, which has been tested for use with their design, or specifying a maximum cable length.
Signal conditioning is required for both the USB host (microprocessor) to redriver channel, and the redriver to peripheral channel (via connector and cable). Typically, different signal conditioning parameters are required for each side.
Designing in a redriver
USB redrivers are a convenient and relatively low-cost way to implement transparent (no effect on data transfer) signal conditioning to a USB channel. Products such as Diodes Incorporated’s PI3EQX1001XUAEX, a 10 Gbit/s, 1-channel USB 3.1 linear redriver, restore a high-speed USB signal to its original condition prior to it being received by the end point device (Figure 1).

Figure 1: USB redrivers like Diodes Incorporated’s PI3EQX1001XUAEX are a convenient way to restore signal integrity in long cables. (Image source: Diodes Incorporated)
Because redrivers allow for a wide range of configuration parameters, the chip can be mounted on either the host USB pc board as close to the connector as possible, or at the far end of the cable, close to the connector of the peripheral or end-point device (as shown in Figure 1). However, most applications use the redriver at the host USB end of the cable.
Board traces should be designed to meet best practice guidelines for high-speed signal design. For example, the traces should be matched, controlled impedance, differential pairs. Routing should avoid the use of vias and sharp turns (keep them to 135˚ or greater), and the traces should be referenced to a solid ground plane without cuts and splits to prevent impedance discontinuities (Figure 2).

Figure 2: Traces connecting the USB host to the redriver and connector should adopt high-speed signal design best practices. For example, turns should be limited to 1350 to limit interference. (Image source: Texas Instruments)
Once the pc board and components have been assembled, the developer can configure the signal conditioning parameters to meet the specific characteristics of a particular channel.
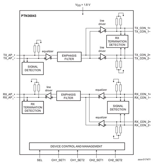
One example of a contemporary product is NXP Semiconductors’ PTN36043BXY USB 3.0 redriver. This chip is a compact, low power, two differential channel, 2 to 1 active switch with an integrated USB 3.0 redriver. The switch can direct two differential signals to one of two locations, and features a design that minimizes crosstalk (Figure 3).

Figure 3: NXP Semiconductors’ USB 3.0 redriver integrates emphasis, equalization, DC gain, and output swing control. Separate control is required for transmission and receiver lines as cable characteristics vary in each direction. As this redriver is designed for use with USB Type-C connectors, it features dual transmit and receive twisted pairs on the connector side. (Image source: NXP Semiconductors)
The NXP USB 3.0 redriver allows the developer to adjust emphasis/de-emphasis, equalization and output swing for each channel (USB host-to-redriver and redriver-to-peripheral). In addition, the device allows compensation for cable attenuation by boosting DC gain.
Each channel is connected to two control pins, allowing the designer to select signal conditioning parameters for a given set-up. The developer can select from nine combinations of signal conditioning for the TX/RX lines on each channel (Table).
|
Table: The developer can choose from nine signal conditioning parameters for the TX/RX lines on the USB host-to-redriver channel when using the NXP redriver. Similar options are available for the redriver-to-peripheral channel. (Table source: NXP Semiconductors)
Evaluating redriver designs
Evaluation of a prototype across a range of operating conditions is necessary to pin down the best choices of emphasis, equalization, DC gain, and output swing control. The designer’s task is made easier due to the availability of evaluation kits.
For example, Texas Instruments offers the USB-REDRIVER-EVM USB 3.0 redriver evaluation module (EVM) (Figure 4). The module is based on the company’s TUSB501DRFR USB 3.0, 3.3 volt single channel redriver.

Figure 4: TI’s USB 3.0 redriver evaluation module lets developers experiment with a range of configurations to optimize the signal integrity of their design. (Image source: Texas Instruments)
When the USB system is active, the TUSB501 periodically performs receiver detection on the TX pair. If it detects a SuperSpeed USB receiver, RX termination becomes enabled, and the TUSB501 is ready to redrive.
The chip features a receiver equalizer with three gain settings (3, 6, and 9 dB) controlled by pin “EQ”. The chip also supports de-emphasis and output swing on pins “DE” and “OS”. De-emphasis values are dependent on output swing selection. With the output swing set to “low”, de-emphasis can be set to between 0 and -6.2 dB. With it set to “high”, the EM supports de-emphasis between -2.6 to -8.3 dB.
The EVM comes as a USB dongle and houses two of the TUSB501 redrivers (plus a third USB 2.0 redriver). The dongle is powered from the USB host VBUS pin and passes the supply voltage to the downstream port to power a peripheral device.
One of the TUSB501 redrivers on the EM boosts the host TX lines while the other looks after the RX lines. The default equalization and de-emphasis values are configured to values typically found for transmitting and receiving on a USB 3.0 system using a cable between 3 and 5 m in length and an associated 20 to 25 centimeters of board trace. DC gain is implemented by selecting an appropriate resistor.
The EVM allows the developer to test how changes to the configuration parameters of the redrivers affect the signal integrity of the TX and RX pairs of a high-speed USB system. The EVM also serves as a reference design that can be modified for any intended application. It is equipped with USB Type-A plugs and receptacles.
Testing a system with a USB redriver connection
When testing a physical system, it is important to remember that the redriver modifies the USB signal, and as such introduces its own contribution to system jitter. This jitter should be measured to check its impact on a signal conditioning set-up.
TI recommends a test system with a 3 meter cable and a host USB pc board with 24 inch traces, with the redriver placed 4 inches from the connector. At the far end of the cable, the peripheral device is represented by a pc board with traces measuring between 1 and 6 inches (Figure 5).

Figure 5: Jitter test set-up for high-speed USB using TUSB501 redrivers. The set-up replicates an application such as a PC connected to a peripheral flash drive using a 3 m cable. (Image source: Texas Instruments)
An ideal design would exhibit zero jitter, ensuring that compensation such as de-emphasis is fully applied immediately after the high-to-low/low-to-high transition. Because this is impractical, TI recommends designing to limit jitter such that full compensation is applied within 200 picoseconds (ps) of the transition (Figure 6).

Figure 6: Jitter in a high-speed USB system using redrivers should be limited such that full compensation is applied within 200 ps of the signal transition. (Image source: Texas Instruments)
Conclusion
In its original form, USB 3.0 was intended for cables with a maximum length of 2 m, but many contemporary applications use longer cables. Because of the technology’s high frequency signalling, extending the length of cables beyond 3 m introduces signal integrity problems which can compromise throughput. Inexpensive and compact USB 3.0 redrivers offer a relatively simple solution by enabling the developer to add equalization, emphasis, and DC gain to boost the high-speed USB signal.
As described, silicon vendors now offer ready built EVMs based on redrivers that make it easy to try out the target device in the proposed application. The datasheets include component and pc board layout information allowing the EVM to be used as a reference design for the end product.
Disclaimer: The opinions, beliefs, and viewpoints expressed by the various authors and/or forum participants on this website do not necessarily reflect the opinions, beliefs, and viewpoints of DigiKey or official policies of DigiKey.

